Apple 正在研發一項新技術,旨在提升 AirPods 的手勢識別速度並縮小裝置體積。根據最近曝光的一項專利申請,Apple 考慮利用現有的無線電天線來偵測用戶的手勢,而非依賴傳統的電容式感測器。這項技術不僅能減少內部組件所佔用的空間,讓耳機設計更加輕巧,還能解決目前手勢操作反應不夠即時的問題,提供更流暢的用戶體驗。
重點文章
優化內部空間與設計
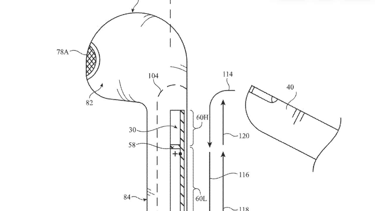
目前的 AirPods 系列產品使用電容式感測器來偵測觸控指令,但這些組件往往佔用過多空間,限制了耳機的緊湊設計。Apple 在專利中指出,過多的感測器電極會使裝置變得笨重。透過改用天線進行阻抗偵測,Apple 可以移除傳統的感測器,進而節省空間並減輕重量,讓未來的 AirPods 在佩戴上更加舒適,並為其他精密組件騰出空間。
提升手勢辨識靈敏度
這項技術的另一個核心特點在於降低延遲。目前 AirPods 在偵測點擊或滑動手勢時,有時會感到反應延遲。由於天線處理音訊數據的頻率遠高於電容式感測器的刷新率,利用天線的阻抗變化來偵測手指移動,能實現近乎即時的反應。當用戶在耳機柄上滑動時,系統可以精確捕捉阻抗變化的速度與順序,從而判斷是音量調整還是切換曲目。
未來產品的應用方向
這項專利涵蓋了多種材料與阻抗測量的技術細節,顯示 Apple 持續探索優化穿戴式裝置交互方式的可能性。雖然專利申請並不保證該技術一定會應用在即將推出的型號中,但這反映出 Apple 對於解決裝置體積與操作延遲問題的重視。未來除了 AirPods,這項技術也有可能擴展到其他智能穿戴設備,進一步強化其產品生態系的操控性能。
