Apple 專利欲實現螢幕下 Face ID 與 Touch ID

notchless iphone 12

iPhone 達成真正的全螢幕顯示可是 Apple 與使用者間共有的願景,然而要達成這個目標,螢幕下的臉部辨識系統或指紋辨識系統似乎是最有可能的途徑。而在 Apple 最新公開的專利中,就有可能將這個想法化為現實。

notchless iphone 12

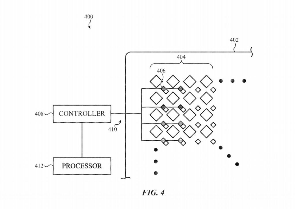
Apple 的最新專利「於電子設備顯示器的發光層加入偵測入射光的感應系統」簡單來說就是在顯示器下方加入光線感應器,如此一來就能用以實現 Face ID 以及 Touch ID,而無須另外使用圓矩形切口的方式來放置感應器。

為了實現這種做法,Apple 提供了 2 個方案,其一,是讓顯示器下方的光線感應器以合成的方式將碰觸到螢幕的物體圖樣顯現出來,換言之可用以實現指紋辨識;其次,則是透過太陽能電池或光電二極體陣列來合成影像的像素點,系統會收集光電二極體的電子訊號,藉以感應光線的強度以及顏色,可能用於實現臉部辨識。

Fig 4

當然目前這仍然只是 Apple 提出的專利,究竟這種方法是否可行,又是否會在未來的 iPhone 設備上實現則有待時間來證明。

Comments are closed.

加入本站 WhatsApp 頻道最新限免情報立即知。

全新本站官方《限時情報王》 iOS 版 登場。限免已完結?不想錯過重大限免應用,可到本站追蹤 Telegram 頻道FacebookIG